ШПК-310 НОБ (навесной открытый белый)
Описание
Шкаф пожарный ШПК-310 НОБ (навесной, открытый, белый) предназначен для обеспечения сохранности и размещения в нем пожарного крана. Комплектуется поворотной корзиной (кассетой) для одного напорного рукава диаметром от 51 до 66 мм. Снабжен дверцей открытого типа с удобной ЕВРО-ручкой и смотровым окном для контроля целостности инвентаря. Возможно исполнение пожарного шкафа с надежным почтовым замком и карманом для хранения ключей. Окрашен прочным полимерным покрытием белого цвета. Порошковая краска надолго защитит металлический ящик от появления очагов коррозии и сохранит его первоначальный вид.
ШПК-310 НОБ быстро монтируется, навесной монтаж не требует никакой дополнительной подготовки места установки. Стальной короб легко закрепляется обычными анкерными болтами либо дюбелями с саморезами к стене, на внутренний противопожарный водопровод здания или промышленного объекта. Высота установки шкафа не должна превышать 135 см. от пола до пожарного крана, с целью обеспечения удобного доступа к первичным средствам пожаротушения и выполнять требования по их сохранности.
ШПК-310 НОБ быстро монтируется, навесной монтаж не требует никакой дополнительной подготовки места установки. Стальной короб легко закрепляется обычными анкерными болтами либо дюбелями с саморезами к стене, на внутренний противопожарный водопровод здания или промышленного объекта. Высота установки шкафа не должна превышать 135 см. от пола до пожарного крана, с целью обеспечения удобного доступа к первичным средствам пожаротушения и выполнять требования по их сохранности.
Характеристики
| Категория | Шкафы пожарные |
| Рекомендуется | Для стандартного пожарного крана / Для монтажа на внутренний противопожарный водопровод |
| Производитель | Завод «ТОИР-М» |
| Как можно купить | Опт / Розница |
| Вид поставки | Поштучно / На паллете |
| Серия | ШП-К-001 |
| Модель | ШПК-310 НОБ |
| Тип исполнения | Настенный |
| Тип монтажа | Навесной |
| Цвет | Белый |
| Материал | Металл |
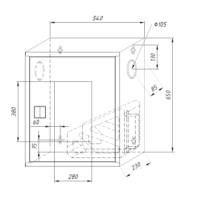
| Ширина, мм | 540 |
| Высота, мм | 650 |
| Глубина, мм | 230 |
| Вес не более, кг | 12 |
| Комплектация включённая в стоимость изделия | Корзина для пожарного рукава |
| Комплектация изделия за дополнительную плату | Пожарный рукав |
| Количество изделий на паллете, шт | 12 |
| Габариты упакованной паллеты Д х Ш х В, мм | 1200х800х1600 |
| Вес упакованной паллеты не более, кг | 144 |
